潮流UCM6108配合他们的GXP1610-IP电话在企业中应用是非常方便的,以下简单的记录下大概的配置教程!
先把IPPBX接入到局域网内,设置好IP,登入系统管理界面,
接口参数配置
因为电信开通的固话是光猫那边直接输出的,首先需要设置的是模拟中继,如上图;
新建中继配置文件,勾选相对应的FXO接口,参数如上;
入局路由配置
接下来配置入局路由;
可以选择之前创建的各个FOX端口所对应的配置文件进行设置,比如上面的696号码已经设置成6011分机号独占模式;
也可以设置公司语音提示之类的,不详细说明了;
出局路由配置

▲设置分机号出局固定使用的号码端口
▲其他分机号共用两个号码,当其中一个忙线时自动使用另外一个号码作为拨打
IVR自定义语音提示
可自行上传语音文件,http://developer.baidu.com/vcast?zhidao 分享一个百度文字生产语音平台;
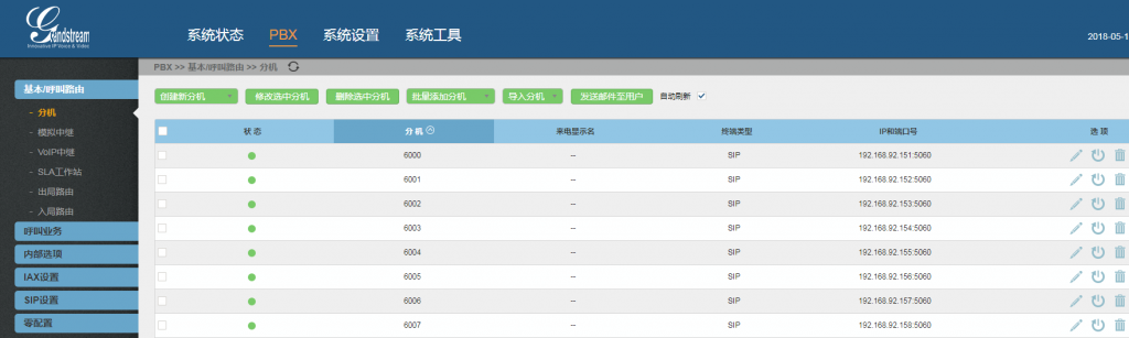
设置IP电话分机
▲参数参考
添加分机号后,接下来就要配置IP电话,使得IPPBX能和IP电话对接上。
IP电话配置
把IP电话用网线接入到和IPPBX同个局域网,通电开机,设置IP电话的IP,网关,DNS等参数后,重启。
例如我的一部ip电话设置成以上内网地址,登入到IP电话的管理系统;
点击账号,常规设置,把你之前创建的分机号信息填进去保存并应用;SIP服务器地址就是你的IPPBX设备的IP地址,6010就是之前创建的设备分机号;
等待10秒,点击状态,就能看到这个分机已经成功上线了。
以上
完。












